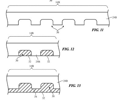
近日一项苹果最新可折叠 iPhone 专利曝光:其采用了一种十分独特的柔性屏幕设计来解决折叠问题。 苹果公司计划在玻璃内部切出一系列凹槽,这将使玻璃拥有高度灵活性,这一过程在木材中称为刻缝,同时这些凹槽被用与玻璃具有相同折射率的弹性体聚合物或流体所填充,而显示屏的其余部分将是正常的。 专利内容如下: · 电子设备具有铰链式的折叠结构,允许设备绕轴折叠。显示屏可能与弯曲轴重叠。 · 显示器可能具有一层或多层结构,例如具有凹槽或相应的覆盖层。显示器覆盖层可以由玻璃或其他透明材料形成。凹槽可以在显示层中形成柔性部分,该柔性部分允许显示层的玻璃或其他透明材料绕弯曲轴弯曲。 · 凹槽可以被聚合物或其他材料填充。显示层可以拥有填充液体的开口,在由柔性玻璃或聚合物结构组成的显示层中可以用具有与玻璃或聚合物结构折射率匹配的材料填充相应的凹槽。 · 被分开的刚性平面层间隙可形成铰链。刚性平面层可以是显示器中的玻璃层或其他透明层,或者可以是电子设备的壳体壁或其他结构部分。与刚性平面层的相对表面齐平的柔性层也可被用于跨越间隙从而形成铰链。 从专利来看,苹果公司通过使用柔软材料在机械上实现可折叠并不太复杂,但这种方法对制造要求更高。


