

据外媒 Appleinsider 报道,未来 iPhone 和苹果手表可能会有智能开孔保护盖,可以让空气流动来冷却内部组件,同时将所有湿气蒸发,防止其进入设备。
我们知道,移动设备需要在外壳上开孔,才能使某些功能发挥作用,比如麦克风或扬声器。另外,开孔的另一个作用是可以让环境中的空气进入设备的内部腔体,同时排出暖气,但开孔的缺点是让设备的防水性下降。
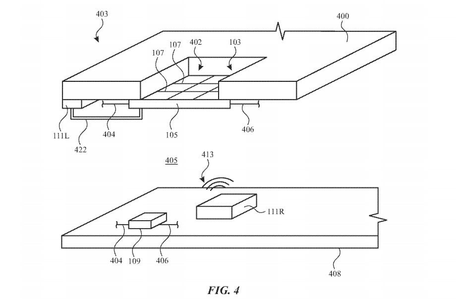
在美国专利和商标局周二授予苹果的一项名为 “电子设备的智能通风口”专利中,苹果提出加入带有盖子的通风口,将内部空腔与外界隔离。专利称,盖子具有 “透气、耐液体”的特性,有过滤空气和湿气的功能,这将使设备保持其防水的特性。
盖子还有传感器,通过检测湿气或其他物品的存在,可以采用缓解功能来消除任何干扰其正常工作的东西。盖子也可以使用红外加热器的机制,以快速处理任何残留的水分。
IT之家了解到,苹果每周都会提交大量的专利申请,但虽然这些申请只是表明了苹果研发团队感兴趣的领域,但并不能保证这些概念会出现在未来的产品或服务中。
